New Olympus patent describes the Olympus 100mm F2.8 Macro IS PRO

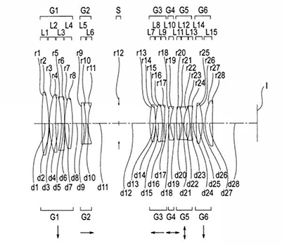
New patent JP2019-164276 describes the design of the 100mm F2.8 Macro IS PRO. This lens is yet not mentioned on the official Olympus lens roadmap:


New patent JP2019-164276 describes the design of the 100mm F2.8 Macro IS PRO. This lens is yet not mentioned on the official Olympus lens roadmap:
