Olympus patent discloses new 400mm and 500mm MFT lenses

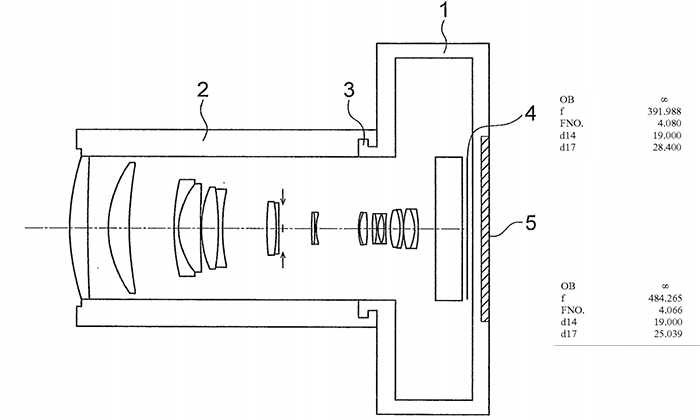
I spotted a brand new Olympus patent which describes the design of two new telephoto lenses: The 400mm f/4.0 and the 500mm f/4.0. As usual we don’t know if and when such lenses will be announced. But I guess it makes sense for Olympus to introduce such kind of super telephoto lenses as wildlife photography is certainly one of the main use of MFT gear.



