Tamron published a new 100-400mm f/5.6-8.3 MFT lens patent

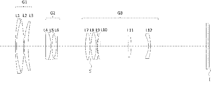
There is a new Tamron patent describing a 100-400mm f/5.6-8.3 lens designed for Four Thirds sensors. This would be their second MFT lens after the Tamron 14-150mm Di III.
via Hi-Lows-Note

There is a new Tamron patent describing a 100-400mm f/5.6-8.3 lens designed for Four Thirds sensors. This would be their second MFT lens after the Tamron 14-150mm Di III.
via Hi-Lows-Note