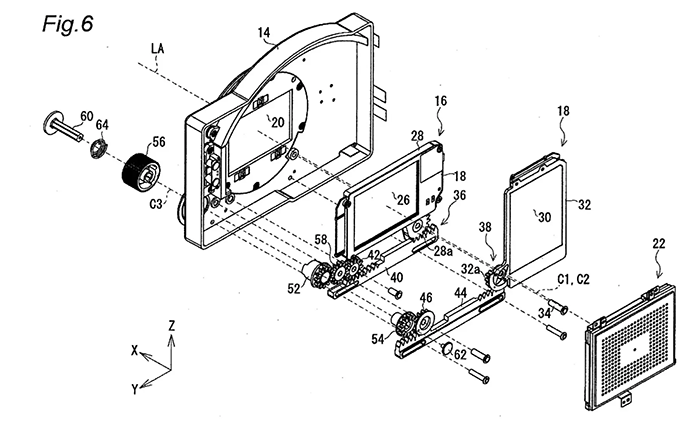
New Panasonic patent shows a camera with Variable Built-In Electronic ND Filter

Ymcinema spotted a new Panasonic patent disclosing the design of a camera with Variable Built-In Electronic ND Filter. If Panasonic manages to bring this idea into production it would be a sort of holy grail kilelr feature for cinematographers!





