Panasonic patented a 20-400mm f/2.9 lens for the DMC-FZ series
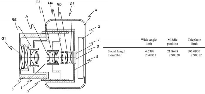
I spotted a brand new Panasonic patent describing a 20-400mm f/2.9 lens for the DMC-FZ series. The lens has an overall length of 9,4cm. If Panasonic will ever use that lens on a FZ camera is unclear. But having a constant f/2.9 aperture would certainly be a nice evolution over the current FZ2500.




